Log in
Sign up for FREE
arrow_back
Library

G11 Practical Rates of reaction

star
star
star
star
star
Last updated about 1 year ago
25 questions
2
2
2
2
2
2
2
2
2
2
2
2
2
2
2
2
2
2
2
2
2
2
2
2
2

PRACTICAL ASSESSMENT [50 MARKS]

You have only ONE hour to complete this assessment. No reading time is necessary. Your time begins as soon as the assessment is opened. After one hour, if you are still writing, Formative will force submit your answers (don't worry you won't lose the answers you have filled in if it submits automatically). Good luck!

QUESTION 1

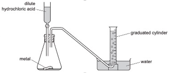
Consider the following experiment conducted to measure the rate of reaction between a metal and acid.

Question 1
1.

What change will DECREASE the rate of reaction?

Question 2
2.

Write the name of the gas that is being collected in the inverted measuring cylinder.

Question 3
3.

Rebecca repeats the experiment, with an increased concentration of acid. Which statement best describes the effect of an increase in concentration on the reacting particles?

Question 4
4.

Which of these Boltzmann distributions represents the effect of increasing the concentration of acid?

QUESTION 2

A student investigates the reaction between zinc carbonate and hydrochloric acid. Her set-up is shown below - She repeats the experiment a second time using the same set-up however this time she uses zinc carbonate powder.

Question 5
5.

Explain why the mass of the reaction flask decreases over time.

Question 6
6.

Identify the factor being manipulated in order to affect the rate of reaction

Question 7
7.

Which statement best describes the effect of this change (Expt 2) on the reacting particles?

Question 8
8.

What is the independent variable in this experiment?

Question 9
9.

What is the dependent variable in this experiment?

Question 10
10.

Identify one controlled variable.

QUESTION 3

Leandro decided to do a similar experiment with magnesium ribbon and hydrochloric acid, using the apparatus shown below. The hydrochloric acid is in EXCESS.

Question 11
11.

The following sentences describe the steps of his method. Arrange them in the correct sequence (order)

  1. Record the volume of gas in the syringe every minute for 8 minutes
  2. Pour 50 cm3 of 0,5 mol.dm-3 hydrochloric acid into the flask
  3. Clean the strip of magnesium ribbon to remove the magnesium oxide layer
  4. Quickly put the stopper into the flask with the gas syringe
  5. Put the magnesium ribbon into the flask
The syringes below show the position of the plunger at the start and end of the experiment:

Question 12
12.

What is the syringe reading at the start in cm3? Write number value ONLY.

Question 13
13.

What is the syringe reading at the end in cm3? Write number value ONLY.

Question 14
14.

What is the total volume of gas produced in cm3? Write number value ONLY.

Question 15
15.

The experiment was repeated. Which of the following changes would cause the volume of gas collected to increase? Select all that may apply.

QUESTION 4

Consider this experiment you have learnt about.


Use this link if you cannot access the video: https://drive.google.com/file/d/0B5A_aIE5kJWSNktQOGdpeTJZbDA/view?usp=sharing&resourcekey=0-8WUId1ZZ72RWVH8zOj8RzQ
Question 16
16.

Idenitfy the reactants used in this reaction. Select all that apply.

Question 17
17.

Which of the following changes will affect the measured rate of this reaction?

QUESTION 5

Consider the energy profile diagrams representing three different chemical reactions.

Question 18
18.

Which of these reactions is likely to proceed at the slowest rate?

Question 19
19.

Assume the that reaction C is a reaction between hydrogen and nitrogen to form ammonia.
The equation for Reaction C can be written as:

Question 20
20.

QUESTION 6

General skills and questions:
Question 21
21.

What is the volume reading below, in cm3?

Write number value only, no unit necessary

Question 22
22.

Which one of these would be most suitable to use to measure a liquid of volume of 9 cm3?

The sealed reaction vessel has a fixed number of molecules of gas. A change is made after 10 ps (while all other factors are controlled).


(If you are unable to view the video, use this link: https://drive.google.com/file/d/1qWfXwx2W-f6YaqTmNfxZppki-mBbAoGl/view?usp=sharing)
Question 23
23.

What change was made in the experiment above?

Question 24
24.

Which of these Boltzmann distributions represents the effect of this change?

Watch the video clip of an experiment you have learnt about.


Use this link if you cannot access the video: https://drive.google.com/file/d/0B5A_aIE5kJWSV21obUgtaDdyc0U/view?usp=sharing&resourcekey=0-o0lo1_0KqIHbhc1F6UZuBA
Question 25
25.

Which statement regarding this experiment is FALSE?

THE END OF THE ASSESSMENT

Check your answers and then click "submit"

Using 0,8 mol.dm-3 acid
Chopping the magnesium ribbon into smaller pieces
Increasing the temperature of the acid
Using 100cm3 of acid
Increasing the size of the flask
Decreasing the thickness/darkness of the X drawn on the paper
Decreasing the volume of the solutions
Increasing the concentration of the solution in the flask
All of these will affect the rate of reaction
None of these will affect the rate of reaction
N2 + 3H2 ➝ 2NH3 + 50 kJ/mol
N2 + 3H2 ➝ 2NH3 + 30 kJ/mol
Given that the balanced equation for Reaction C is N2 + 3H2 ➝ 2NH3, how much energy is released/absorbed in total for this reaction? Choose between released and absorbed AND a numerical value
Net energy is released
Net energy is absorbed
15 kJ
25 kJ
30 kJ
50 kJ
80 kJ
100 kJ
D