Log in
Sign up for FREE
arrow_back
Library
G2 Unit 2: Addition and Subtraction Mentally (pretest)
By Yuejing He
star
star
star
star
star
Share
share
Last updated almost 3 years ago
13 questions
Add this activity
1
1
1
1
1
1
1
1
1
1
1
1
1
Question 1
1.
7 + ____ = 8 + 5
A 7
B 8
C 6
D 3
Question 2
2.
15-9=
14-7
9+5
6+9
11-5
Question 3
3.
比16少8是多少?
A 6
B 8
C 2
D 24
Question 4
4.
哪两个加法的得数跟14-6一样?
10-6和6+2
5+3和10-2
4+3和10-3
4+6和10-4
Question 5
5.
?是_________
A 5
B 12
C 19
Question 6
6.
篮子里有17个棕色的鸡蛋和5个白色的鸡蛋。请问篮子里一共有多少个鸡蛋?
17-5=12
17+5=22
5+7=12
17+0=17
Question 7
7.
填一填。
3 + 16 = ____
Question 8
8.
填>,<或=。
18-11_______ 9+9
Question 9
9.
填一填。
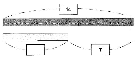
Question 10
10.
看图写等式。
Question 11
11.
公共汽车上有9个男生,女生比男生多7人。请问公共汽车上有多少个女生?
Question 12
12.
Emma有18颗红珠子和3颗绿珠子。请问她一共有多少颗珠子?(写一个等式)
Question 13
13.
Carlos做了12个苹果派,桃子派比苹果派少3个。请问他做了多少个桃子派?
D 17