Log in
Sign up for FREE
arrow_back
Library

Circuits and Electromagnets Quiz

star
star
star
star
star
Last updated almost 3 years ago
8 questions
Required
5
Required
6
Required
2
Required
1
Required
1
Required
2
Required
2
Required
1
Question 1
1.

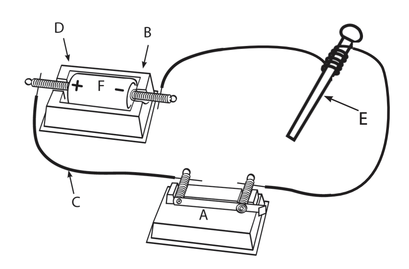
Draw the Direction that Electricity flows in this Circuit.

Explain in 1-2 sentences why Electricity flows in that direction. You must use the vocab terms Electron, Charge, Attract, and Repel in your answer at least once.

Question 2
2.
Drag the statements to each point within the drawing
Other Answer Choices:
Pathway to carry the electrons
Starting point for electrons to flow
Control flow of Electrons turning on/off
Has potential energy to run the circuit
Becomes a temporary magnet
End point where Electrons want to move
Question 3
3.

Select ALL Answers that apply.
We know that electricity flows through components because of some evidence. Which of the following provide evidence that electricity is flowing?

Question 4
4.

Select ALL the circuits where the Lightbulb WILL light up.

Question 5
5.

What is the power source for the circuits we built in our classroom?

Question 6
6.

SELECT ALL ANSWERS THAT APPLY
Select each statement that describes where ELECTRONS flow in an Electromagnet.

Question 7
7.

Which of the following is True for a Closed Circuit? (Select ALL that apply)

Question 8
8.

This Graph shows the results of an investigation with an electromagnet.

A lightbulb shines.
Electrons flow THROUGH the switch when it is closed.
Electrons flow THROUGH the wire wrapped around the core.
The thinner the wire, the fewer (less) nails lifted.