Microscope Pre-Lab A&P (shared)
star
star
star
star
star
Last updated about 3 years ago
15 questions
Required
20
Upload a photo of your notes.
Upload a photo of your notes.
Required
10
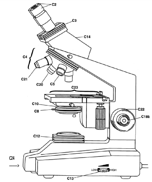
Match the part of the microscope with its location on the diagram
Match the part of the microscope with its location on the diagram
| Draggable item | arrow_right_alt | Corresponding Item |
|---|---|---|
light source | arrow_right_alt | C24 |
coarse adjustment knob | arrow_right_alt | C12 |
base | arrow_right_alt | C8 |
fine adjustment knob | arrow_right_alt | C10 |
ocular (eyepiece) | arrow_right_alt | C4 |
head | arrow_right_alt | C2 |
diaphragm | arrow_right_alt | C14 |
objective lens | arrow_right_alt | C13 |
Abbe condenser | arrow_right_alt | C23 |
rheostat (dimmer) | arrow_right_alt | C18b |
mechanical stage | arrow_right_alt | C22 |
Required
10
Match the microscope structure with its function
Match the microscope structure with its function
| Draggable item | arrow_right_alt | Corresponding Item |
|---|---|---|
coarse adjustment knob | arrow_right_alt | Moves stage up and down in large increments (DO NOT use it on high power above 10x) |
objective lenses | arrow_right_alt | Moves stage up and down in small increments. Use after coarse adjustment. (If using the 40x or 100x objectives it is the ONLY one you use) |
base | arrow_right_alt | Holds and positions the slide |
ocular (eyepiece) | arrow_right_alt | Adjusts intensity of light |
fine adjustment knob | arrow_right_alt | Controls amount of light that can reach specimen by changing diameter of opening |
rheostat (dimmer) | arrow_right_alt | Raises or lowers the diaphragm and thereby changes angle of light and intensity |
mechanical stage | arrow_right_alt | The part you look through! Usually magnify 10x or 25x |
diaphragm | arrow_right_alt | Magnifying lenses (4x, 10x, 40x, 100x (oil immersion lens) |
Abbe condenser | arrow_right_alt | Lowest part of the microscope; supports the rest |
Required
4
What is the proper way to carry a microscope?
What is the proper way to carry a microscope?
Required
4
What happens when the revolving nose-piece is rotated?
What happens when the revolving nose-piece is rotated?
Required
4
How can you determine the magnification of the ocular lens on your microscope?
How can you determine the magnification of the ocular lens on your microscope?
Required
10
Match the color of the objective lens with its magnification.
Match the color of the objective lens with its magnification.
| Draggable item | arrow_right_alt | Corresponding Item |
|---|---|---|
red | arrow_right_alt | 40x (high power) |
blue | arrow_right_alt | 10x (low power) |
yellow | arrow_right_alt | 4x (scanning) |
white | arrow_right_alt | 100x (oil immersion) |
Required
4
If the ocular lens has a magnifying power of 25X, and the low power objective lens is being used, what is the total magnification of the microscope? Show your work!
If the ocular lens has a magnifying power of 25X, and the low power objective lens is being used, what is the total magnification of the microscope? Show your work!
Required
4
Now click “Microscope Care”.Why must you never touch the lens of a microscope with your fingers?
Now click “Microscope Care”.
Why must you never touch the lens of a microscope with your fingers?
Required
4
Under what circumstances would immersion oil be used?
Under what circumstances would immersion oil be used?
Required
4
If you need to move the stage to the left, which part would be used?
If you need to move the stage to the left, which part would be used?
Required
4
What is the difference between the coarse focus (adjustment knob) and the fine focus?
What is the difference between the coarse focus (adjustment knob) and the fine focus?
Required
4
The ocular lens of your microscope has several smudges. What would you use to clean the lens: paper towels or lens paper? Why?
The ocular lens of your microscope has several smudges. What would you use to clean the lens: paper towels or lens paper? Why?
Required
4
Now click “Next”.
If you were trying to simply locate a grouping of cells under the microscope, which lens would be used? Explain using the term field of view.
Now click “Next”.
If you were trying to simply locate a grouping of cells under the microscope, which lens would be used? Explain using the term field of view.
Required
10
Use Chapter 3 in the Online Textbook to help you define the following terms:
Use Chapter 3 in the Online Textbook to help you define the following terms:
| Draggable item | arrow_right_alt | Corresponding Item |
|---|---|---|
specimen | arrow_right_alt | The thing on the slide that you are observing. |
working distance | arrow_right_alt | Ability of a lens to resolve fine details of an observed object. |
micrometer (µm) | arrow_right_alt | Space between the objective lens and the specimen |
resolution | arrow_right_alt | Metric linear measurement used in microscopy. |
parfocal | arrow_right_alt | A microscope that is calibrated this way will remain mostly in focus when the nosepiece is rotated and the next highest objective is moved into position. |
