Log in
Sign up for FREE
arrow_back
Library

Ch. 9 Test: Right Triangle Trigonometry

star
star
star
star
star
Last updated about 2 years ago
12 questions
3
9
6
9
1
3
2
3
3
3
5
6
Question 1
1.

Question 2
2.
The base of a ladder is placed 14 feet away from a wall and reaches 32 feet high up on the wall. Round the answer to the nearest tenth or hundredth.

a. Draw a diagram of this scenario.

b. Solve for the length of the ladder.
_______

c. What angle does the base of the ladder form with the ground?
_______
Question 3
3.
Find the trigonometric ratios for angles r and s. Leave the answers as fractions.


sin r =_______
cos r =_______
tan r =_______


sin s = _______
cos s =_______
tan s =_______
Question 4
4.
Determine the measures of the angles to the nearest tenth of a degree in the right triangles below.

Determine the measure of ∡a.

_______


Determine the measure of ∡b.
_______

Explain how you were able to determine the measure of the unknown angle in part (a) or part (b).
_______
Question 5
5.

Question 6
6.

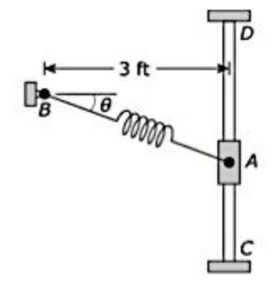
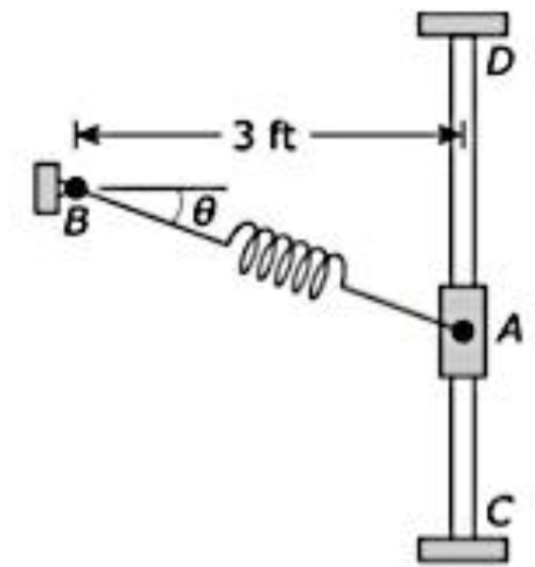
A spring is attached to one end to support B and at the other end to collar A, as represented in the figure. Collar A slides along the vertical bar between points C and D. In the figure, the angle is the angle created as the collar moves between points C and D.


When θ=28°, what is the distance from point A to point B, to the nearest tenth of a foot?

Question 7
7.

Question 8
8.

Question 9
9.

Find the measure of Angle T.


Round to the nearest tenth.

Question 10
10.

A maintenance technician sights the top of a telephone pole at a 25 degree angle of elevation as shown.


Determine the horizontal distance between the technician and the base of the telephone pole to the nearest tenth of a foot.

Question 11
11.

A building casts a 100 ft long shadow on the ground. If the angle of elevation to the top of the building is 40°, how tall is the building?

Round to the nearest tenth.

Question 12
12.
In the three right triangles shown, Angle C=Angle F=Angle I = 36 degrees.


Fill in the blanks to finish the sentences below, using the bank of words given.

Word Bank:
AA Similarity, adjacent leg, ASA, congruent, cosine, CPCTC, GH/GI, GI/GH, hypotenuse, similar, sine, tangent

Because each triangle contains a right angles and a 36 degree angle, the triangles are _______ by _______ , and AB/AC = DE/DF = _______ .
The proportion shows that the ratio of the length of the leg opposite the 36 degrees angle to the length of the _______ will be the same for any right triangle with a 36 degrees angle. The value of the ratio is defined to be the _______ of 36 degrees.
In the diagram at the right, m∠C = 90°.

An equation to find the measure of ∠B is:
(select all that apply)




When the spring is stretched and the distance from point A to point B is 5.2 feet, what is the value of Angle B to the nearest tenth of a degree?
35.2°
60.0°
45.1°
54.8°
The figure shows right △ABC.


Which of the listed values are equal to the sine of B?
Select all that apply.
the sine of (90 - C)
the cosine of C
the cosine of B
the cosine of (90 - B)